OPOZORILNA TABLA / SIGNBOARD
Povzetek:
V tem poročilu se nahaja program, ki za podano referenčno vetrovno področje v Sloveniji
izdela trdnostni preračun OPOZORILNE TABLE za montažo ob cesti. Iz poročila pa je
razviden tudi celoten potek od same zasnove do končne izvedbe tega programa, ki je
oddan kot seminarska naloga pri predmetu OPK na fakulteti za strojništvo
-Univerza v Ljubljani.
Abstract:
This report includes a programming code that calculates signboard stands that depend
on wind references in Slovenia and size of the signboard.
Through the seminar you will recognize the whole process structure of the program
realization. This seminar has been made as a homework for school subject named Construction basics and
procedures at the Faculty of Mechanical Engineering - University of Ljubljana (Slovenia).
Navodilo naloge:
Izdelaj program, ki bo za podano referenčno vetrovno področje v Sloveniji izdelal trdnostni preračun
opozorilne table za montažo ob cestah. Nosilca table naj bosta okrogla ali kvadratna. Glej
10.4.4 v SIST ENV 1991-2-4. Faktor vitkosti ψλ izra;čunajte z ;φ=1.
Uvod:
Opozorilne table so dan danes nepogrešljiv dejavnik sodobnega življenja.
Njihova uporaba dobiva vse večje razsežnosti npr. kot opozorilni znaki v cestnem
prometu, kot reklamni panoji v komercialne namene, kot oznake krajev, mest, ulic...
To seminarsko nalogo pa sem izbral zato, ker se v njej srečujem s konstrukcijskimi
prijemi pri katerem imajo določen vpliv vremenske razmere predvsem veter.
Takšni računalniški programi bodo v sodobnem konstruiranju vse bolj uporabni,
saj je vsakokratno ponovno preračunavanje in iskanje podatkov zelo zamuden postopek.
Matematične osnove:
Oznake:
 |
- š - širina table
- v - višina table
- vref - hitrost vetra
- Cd - dinamični faktor
- ρ - gostota zraka (=1.25 kg/m3)
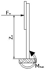
- Zg - oddaljenost table od tal
- Ze - oddaljenost oprijemališča sile od tal
|
Izračun sile vetra
- Aref = v * š
- qref = ρ * vref/2
- Cf = 2.5 * ψλ
- Ze = Zg + v/2
- FW = qref * Ze * Cd * Cf * Aref
Trdnostni preračun:
 |
- Fx = FW/2
- Mmax = Fx * Ze
- σmax = Mmax/Wmin≤σdop
|
Aproksimacija grafa
Diagram vitkosti:
- y = ax2 + bx + c
- 0.6 = a + b + c
- 0.69 = 100a + 10b + c
- 0.95 = 10000a + 100b +c
Rešitev sistema enačb s tremi neznankami
Postopek:
- Od druge enačbe odštejemo prvo.
- Od tretje enačbe odštejemo prvo.
- Enačbo iz prvega koraka množimo z 11.
- Enačbo iz tretjega koraka odštejemo od enačbe iz drugega koraka. Rezultat je vrednost a.
- Vrednost a vstavimo v enačbo iz prvega ali drugega koraka. Rezultat je vrednost b.
- Obe dobljeni vrednosti vnesemo v eno izmed osnovnih enačb. Rezultat je vrednost c.
Končna enačba aproksimacije grafa se glasi:
y = -0.00007x2 + 0.01079x + 0.58928
Vrednost x določa razmerje med večjo in manjšo stranico table.
Dobljena vrednost y pa je iskani koeficient ψλ.
Razčlenitev problema na faze:
Karta za geografsko razdelitav Slovenije po vetrovnih conah (po standardu SIST ENV 1991-2-4)
Po tej karti določimo referenčno hitrost vetra, ki bo deloval na tablo.

Po standardu SIST ENV 1991-2-4 je enačba za izračun sile vetra podana kot:
-FW = qref * Ze * Cd * Cf * Aref
Posamezni koeficient (prav tako določeni z istim standardom) pa so:
-Aref = višina * širina; - referenčna površina table
-Ze = Zg + višina/2. - prijemališče sile vetra
-Zg >= višina/4 - min postavitvena višina table
-qref = ρ * vref/2
-Cd = 1.2 -dinamični faktor (definiran po standardu SIST ENV 1991-2-4 10.4.4 kot 1.2)
-Cf = 2.5 * ψλ - aerodinamični koeficient
Faktor ψλ prav tako določimo po standardu SIST ENV 1991-2-4 in ga odčitamo iz diagrama
(glej matematične osnove-diagram vitkosti).
V nalogi sem ta problem rešil z aproksimacijo funkcije grafa-glej matematične osnove
V nadaljevanju sledi trdnostni preračun katerega sem izdelal predavanjih iz Tehniške mehanike I.
In sicer:
-najprej sem izračunal maksimalni moment
Mmax = FW*Ze /2
-Nato pa sem določil še minimalni odpornostni moment:
-varnostni koeficient za I-obremenitveni primer je 1.5 (sem sodijo sila teze, koristna obremenitev,..)
-varnostni koeficient za II-obremenitveni primer pa je 1.33 (sem sodi sila vetra)
Wmin= Mmax/σdop
Vrste profilov katere lahko izberemo:
Program za izračun opozorilne table:
Zaključek:
Naloga je narejena po določenem standardu, vendar pa v poročilu ni objavljenih grafov
in skic iz standarda, ker je to protizakonito. Sam program deluje po matematičnih enačbah
prevzetih iz statike in trdnosti ter operira z bazo podatkov katero sem prevzel po
določenih katalogih in jo nekoliko predelal. Program je narejen na osnovah samega
konstruiranja in se ne spušča v podrobnosti. Tudi baza podatkov ne zajema vseh
razpoložljivih podatkov ampak samo tiste kateri so nekako smiselni za tak obseg naloge.
Kajti z večanjem baze podatkov in s spuščanjem v podrobnosti konstruiranja bi se obseg
naloge bistveno povečal, kar pa ni bil namen te vaje. Namen vaje je bil spoznavanje in
uporaba označevalnega jezika HTML in programskega jezika JAVASCRIPT ter razčlenitev
nekega problema na posamezne faze in to realizirati.
Literatura:
- Slovenski standard SIST ENV 1991-2-4
- Predavanja iz Tehniške mehanike I ( J. Stropnik )
- TRDNOST-Predpisi in tabele za statično-trdnostne preračune linijskih konstrukcij ( J. Stropnik, A. Mihelič )
- Predavanja in vaje iz OPK ( J. Duhovnik )
- http://www.lecad.uni-lj.si/~kolsek/ ( Dostopni dokumenti )
- Kravtov strojniški prirpčnik ( B. Kraut )
LETO OPRAVLJANJA VAJ: 2000/2001
PREDMET : Osnove in postopki programiranja